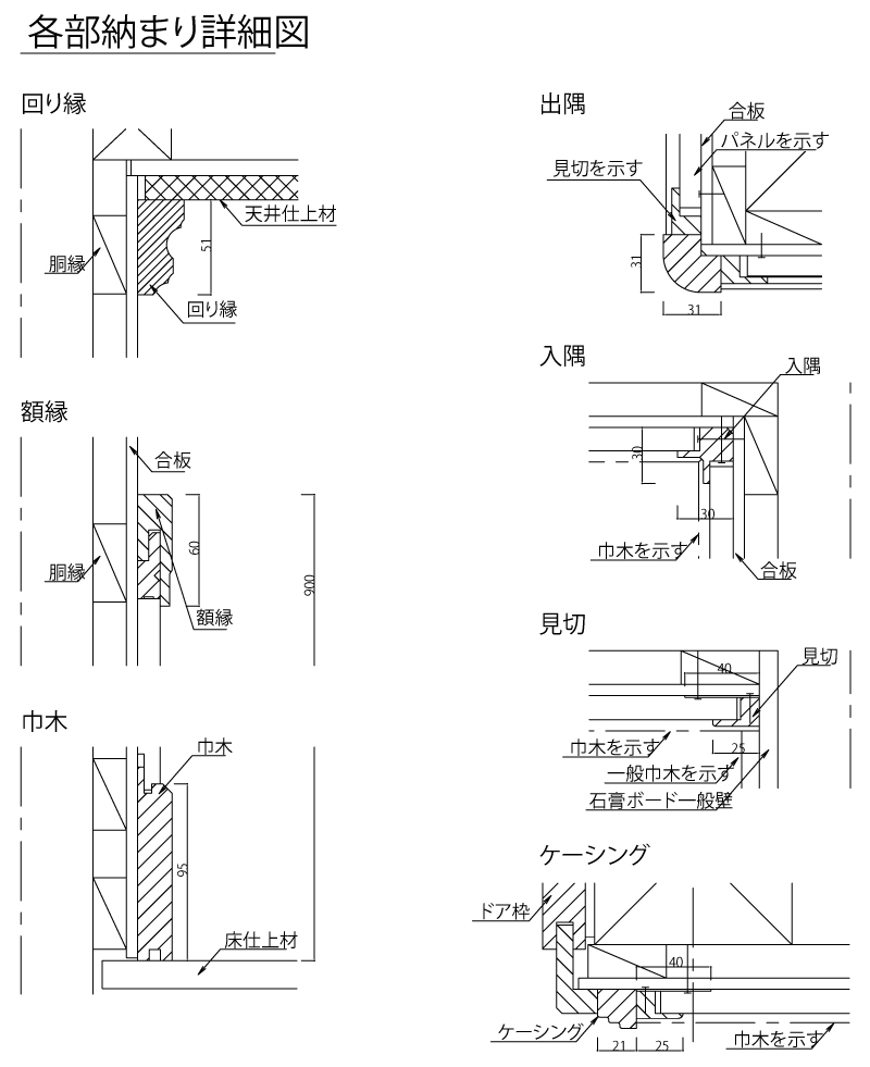
「ずっと ここちいいね」を実現する企業 DAIKEN 建材製品情報 CAD データ検索 dxf CD_B_KS_1020.dxf dwg CD_B_KS_1020.dwg CAD システリアパネル 10型・20型 断面図1(各部納まり詳細図) データ分類_第1分類 CAD データ分類_第2分類 壁材・腰壁 データ分類_第3分類 デザイン腰壁 データ分類_第4分類 システリアパネル 10型/20型 ファイル種類 断面図 キャプション システリアパネル 10型・20型 断面図1(各部納まり詳細図)